PS-0021車螺紋組件接近開關(guān)接觸形式為常開型。作為磁性開關(guān)的一種,PS-0021磁性接近開關(guān)可用于衛(wèi)星天線控制器 。
| 項目 | 說明 |
|---|---|
| 接觸形式 | 常開 |
| 接觸點額定功率 | 10W max. |
| 開關(guān)電壓 | 200VDC max. |
| 開關(guān)電流 | 0.5A max. |
| 斷開電壓(開路) | 1500VDC min. |
| 觸點阻抗(最初) | 0.2 ohms max. |
| 電力壽命(阻性負載) | 107 (12VDC, 5mA) |
| 工作溫度 | -10 ~ +60°C |
![]() |
|
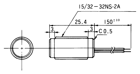
外殼材料: 填充NYLON-6玻璃 接線: UL-1007 AWG#20 * 尺寸為 mm (1 mm = 0.0394寸) |
![]() |
|
磁鐵 TG-0141 OFF (工作點) : Y=5.5 mm ON (工作點) : Y=14 mm |